2026年第9周福建微信影响力指数来了
| 2026-03-23 16:40:02 来源:福建日报社全媒体传播中心 责任编辑:揭晓经 我来说两句 |
福建微信影响力指数,由福建省委宣传部指导、福建日报社主办、新福建客户端发布,由清博智能提供数据支持。 欢迎大家推荐自己喜爱或者运营的微信,想参与的微信公众号可将公众号名称及微信号发至xfjydlmz@163.com。
本期福建微信影响力指数统计时间为2026年3月1日至3月7日。评价指标微信影响力指数(WCI)由清博指数根据采集的微信各项数据指标综合计算得出。 更新啦! 本期福建微信影响力指数 哪些公众号榜上有名?
本期县域微信影响力指数,多号厚积薄发,2个账号新入围。“家在鼓楼”“晋江经济报”稳居前二,“思明快报”提升1位,拿下榜三;“湖里头条”实力进阶,从上期第十来到本期第六;“同安发布”“醉美仓山”拾级而上,从上期第十一、第十二来到本期第八、第十;“天下集美”“业翔民安”均提升1个位次,收获本期第十二、第十五;“壹福清”“鲤城微事”“安溪融媒”“东山融媒”稳扎稳打,收获本期第五、第九、第十四、第十九;“遇见闽侯”“海连江”重新登榜,收获本期第十六、第十八。 热文方面,本期共有1篇10W+稿件,来自“思明快报”。“思明快报”的《淬炼作风立潮头,勇挑大梁看思明》位列热文榜首,“家在鼓楼”的《迪丽热巴发文报平安》位列热文榜二,“醉美仓山”的《陈嘉伟开会时突然晕倒,不幸离世,年仅36岁,留下3个孩子》位列热文榜三;“遇见闽侯”的《正式通车!闽侯这条主干道升级完成》位列原创热文榜首。
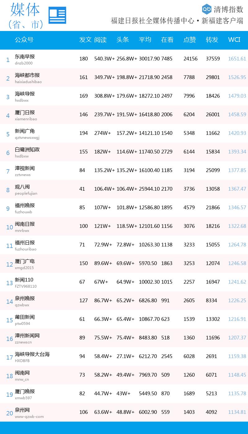
本期媒体(省、市)微信影响力指数,多号稳中有进,2个账号新入围。“东南早报”提升1位,拿下榜首,“海峡都市报”位居榜二,“海峡导报”提升1位,位居榜三;“白鹭洲知政”“福州日报”“新闻110”均提升3个位次,收获本期第六、第十一、第十三;“闽南网”小步快跑,从上期第二十来到本期第十八;“新闻广角”“漳视新闻”“福州晚报”“泉州晚报”向前迈步,从上期第六、第八、第十、第十五来到本期第五、第七、第九、第十四;“海峡导报大台海”“厦门晚报”新上榜,收获本期第十七、第十九。 热文方面,本期共有51篇10W+稿件,“东南早报”收获29篇,“海峡都市报”收获7篇,“海峡导报”收获6篇,“新闻广角”收获4篇,“白鹭洲知政”收获2篇,“厦门日报”“观八闽”“厦门晚报”各收获1篇。“海峡导报”的《现场画面:伊朗导弹绕过以色列拦截系统,击中耶路撒冷》、“东南早报”的《一艘美国油轮在给美国驱逐舰加油时遭伊朗导弹击中,驱逐舰和油轮“甲板上燃起大火”》、“新闻广角”的《以军投掷约100枚炸弹,炸毁哈梅内伊用过的地下掩体:哈梅内伊遇害后,该掩体继续被伊朗高级官员使用,位于德黑兰的“领导层建筑群”下方》位列热文前列;“东南早报”的《特朗普已暂停与以色列总统所有外交会晤,要求必须“今天”就赦免以总理内塔尼亚胡,希望其“专注于战争,而不是法庭案件”》位列点赞数榜首。10W+热文中,45篇关注“国际热点”。
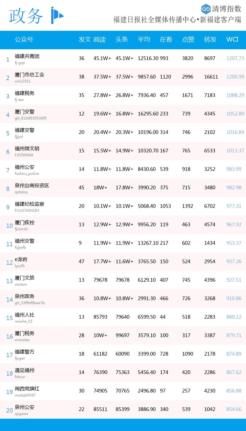
本期政务微信影响力指数,多号强势升位,4个账号新入榜。“福建共青团”“厦门市总工会”蝉联榜单前二,“福建税务”向前1位,收获榜三;“厦门交警”提升13个位次,收获本期第四;“泉州台商投资区”“福建纪检监察”势如破竹,分别从上期第二十、第十八跃居本期第八、第九;“福州公安”“厦门疾控”小步快跑,从上期第十、第十二来到本期第七、第十;“福州微文明”“厦门文旅”均提升1个位次,收获本期第六、第十三;“福建交警”稳扎稳打,位居本期第五;“e龙岩”“福州人社”“闽西党旗红”“泉州公安”重新回榜,收获本期第十二、第十五、第十九、第二十。 热文方面,“福建共青团”的《建议“不调休”的代表,被记者围住了!》位居热文榜首,“厦门市总工会”的《满50减49.9、满158元减100元……新一波开工福利来啦》位居热文榜二,“厦门交警”的《最快109km/h!这些车超速被曝光→》位列热文榜三;“遇见福州”的《25米福鱼空飘、毛晓彤领舞……福州这些元宵活动嗨翻全城》位列原创热文榜首。 县域、媒体(省、市)、政务微信影响力指数每周发布一次,每个类别取其计算排名前二十的微信公众号,上榜账号周发文数不低于7。县域、旅游、健康、教育、校园微信影响力指数月度分析每月发布一次,县域微信影响力指数分析取其计算排名前二十的公众号,旅游、健康、教育、校园微信影响力指数分析每个类别取其计算排名前十的公众号,相关账号月发文数不低于20。暂时只收录省内订阅号,不收录服务号。 其中,县域微信影响力指数以全省84个县(市、区)的政府发布、媒体、县级融媒体中心等微信公众号为样本。媒体(省、市)微信影响力指数监测样本为市级以上媒体;政务微信影响力指数监测样本为省直单位政务号,各设区市、县(市、区)级单位政务号,但不包含县级政府发布。如有疏漏,请留言联系我们。 清博指数对各微信公众号的数据,每日采集两次,采集时间为每日的凌晨0点与每日中午12点,所采集的都为该账号前一天的数据,且预览帖数据不予以统计。 综合数据计算采用业界公认WCI指数。清博指数是第三方新媒体大数据查询平台、“两微一端”新媒体大数据平台,其独有的WCI、BCI、TGI算法公式已被多家央企、500强企业引用。《福建日报》是福建地区最具影响力与公信力的主流媒体之一。由福建日报•新福建客户端发布、清博智能提供数据支持的福建地区微信影响力指数,致力于打造福建省最权威、最公正的微信影响力指数。 |
相关阅读:
![]() |
打印 | 收藏 | 发给好友 【字号 大 中 小】 |














