2026年第3周福建微信影响力指数来了
| 2026-02-12 14:52:54 来源:新福建客户端 责任编辑:揭晓经 我来说两句 |
福建微信影响力指数,由福建省委宣传部指导、福建日报社主办、新福建客户端发布,由清博智能提供数据支持。 欢迎大家推荐自己喜爱或者运营的微信,想参与的微信公众号可将公众号名称及微信号发至xfjydlmz@163.com。
本期福建微信影响力指数统计时间为2026年1月18日至1月24日。评价指标微信影响力指数(WCI)由清博指数根据采集的微信各项数据指标综合计算得出。 更新啦! 本期福建微信影响力指数 哪些公众号榜上有名?
本期县域微信影响力指数,多号进步明显,3个账号新入围。“晋江经济报”提升1位,收获榜首,“家在鼓楼”位居榜二,“晋江电视台”提升6位,来到榜三;“壹福清”弯道超车,从上期第十三来到本期第八;“东山融媒”“安溪融媒”实力进阶,从上期第十八、第十九来到本期第十五、第十六;“醉美仓山”“鲤城微事”“海连江”均提升2位,收获本期第九、第十三、第十四;“石狮融媒”小步快跑,从上期第五来到本期第四;“仙游广播电视台”“业翔民安”稳定发挥,收获本期第六、第十二;“幸福福鼎”“仙游今报”“惠安速报”重新回榜,收获本期第十八、第十九、第二十。 热文方面,本期共有1篇10W+稿件,来自“仙游今报”。“仙游今报”的《紧急通知!福建部分旅客列车停运!》位列热文榜首,“家在鼓楼”的《福州熊猫世界:相关订单已全部原路退款》位列热文榜二,“石狮融媒”的《痛心!包钢板材厂爆炸已致2人死亡5人失联66人送医》位列热文榜三;“业翔民安”的《厦门有学校通知:今明两天,不必穿校服,保暖最重要!》位列点赞数榜首,“石狮融媒”的《石狮这个夜市商场将在春节前建成!》位列原创热文榜首。
本期媒体(省、市)微信影响力指数,多号稳步提升,3个账号新入围。“白鹭洲知政”稳居榜首,“海峡都市报”提升3位,收获榜二,“观八闽”稳定发挥,位居榜三;“海峡导报”稳定发挥,收获本期第四;“台海网”蓄势发力,从上期第十九来到本期第十六;“新闻广角”“东南早报”“莆田新闻”“漳州新闻网”均提升2个位次,收获本期第七、第八、第十一、第十二;“漳视新闻”“泉州晚报”小步快跑,从上期第七、第十六来到本期第六、第十五;“闽南网”、“987私家车广播”、“莆田广播电视台”重新登榜,收获本期第十八、第十九、第二十。 热文方面,本期共有11篇10W+稿件,“新闻广角”收获4篇,“海峡导报”“观八闽”“海峡都市报”各有2篇,“白鹭洲知政”收获1篇。“海峡都市报”的《一觉醒来,福建又下雪了!》、“新闻广角”的《小雨、中雨、霜冻!即将抵达福建》、“海峡导报”的《普京:愿通过“和平委员会”援助巴勒斯坦,用被冻结的俄罗斯资产拨款》位列热文前列;“台海网”的《若赴陆恐影响国民党地方选情?郑丽文自信回应:是大加分、大利多!》位列点赞数榜首,“987私家车广播”的《黄先生逾期1天还款被扣883元!银行回应:已提醒超70次》位列原创热文榜首。10W+热文中,2篇关注“国际热点”。
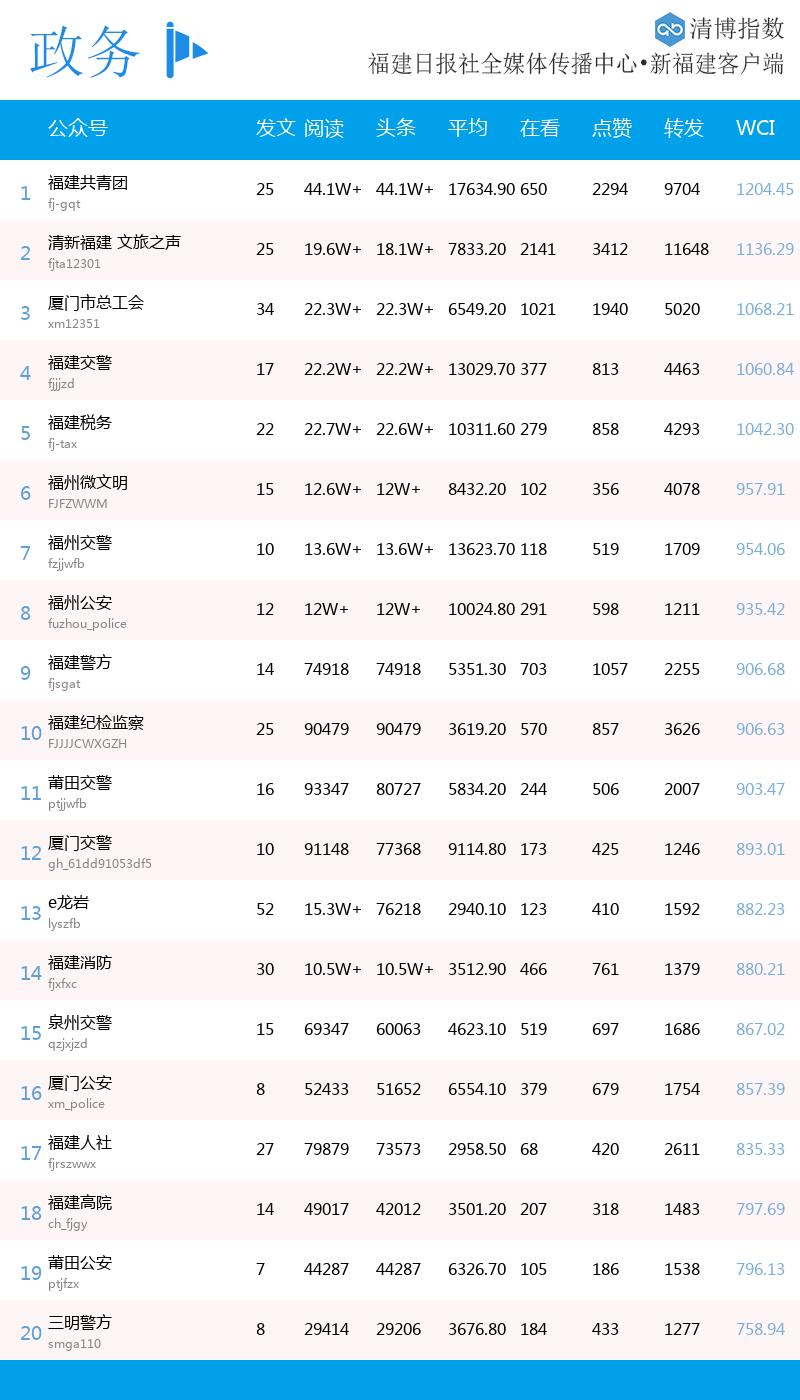
本期政务微信影响力指数,多号蓄势发力,2个账号新入围。“福建共青团”稳居榜首,“清新福建 文旅之声”提升9位,收获榜二,“厦门市总工会”位列榜三;“福建交警”强势升位,从上期第九来到本期第四;“莆田交警”“福建消防”“福建人社”均提升3个位次,收获本期第十一、第十四、第十七;“福建税务”小步快跑,从上期第六来到本期第五;“福建纪检监察”“泉州交警”发挥稳定,收获本期第十、第十五;“福建警方”“三明警方”重新上榜,收获本期第九、第二十。 热文方面,本期共有1篇10W+稿件,来自“清新福建 文旅之声”。“清新福建 文旅之声”的《年轻人都怎么“整顿”文旅圈?主打一个活色生香》位居热文榜首与点赞数榜首,“福建共青团”的《热播剧〈小城大事〉,为何选择在福建取景?》位居热文榜二,“福州微文明”的《福州下雪啦!雾凇也已上线!太美了!》位列热文榜三。 县域、媒体(省、市)、政务微信影响力指数每周发布一次,每个类别取其计算排名前二十的微信公众号,上榜账号周发文数不低于7。县域、旅游、健康、教育、校园微信影响力指数月度分析每月发布一次,县域微信影响力指数分析取其计算排名前二十的公众号,旅游、健康、教育、校园微信影响力指数分析每个类别取其计算排名前十的公众号,相关账号月发文数不低于20。暂时只收录省内订阅号,不收录服务号。 其中,县域微信影响力指数以全省84个县(市、区)的政府发布、媒体、县级融媒体中心等微信公众号为样本。媒体(省、市)微信影响力指数监测样本为市级以上媒体;政务微信影响力指数监测样本为省直单位政务号,各设区市、县(市、区)级单位政务号,但不包含县级政府发布。如有疏漏,请留言联系我们。 清博指数对各微信公众号的数据,每日采集两次,采集时间为每日的凌晨0点与每日中午12点,所采集的都为该账号前一天的数据,且预览帖数据不予以统计。 综合数据计算采用业界公认WCI指数。清博指数是第三方新媒体大数据查询平台、“两微一端”新媒体大数据平台,其独有的WCI、BCI、TGI算法公式已被多家央企、500强企业引用。《福建日报》是福建地区最具影响力与公信力的主流媒体之一。由福建日报•新福建客户端发布、清博智能提供数据支持的福建地区微信影响力指数,致力于打造福建省最权威、最公正的微信影响力指数。 |
相关阅读:
![]() |
打印 | 收藏 | 发给好友 【字号 大 中 小】 |














